$B!!!!!!!!!!!!!!!!!!!!!!!!!!!!(BGPS$BB,NL%@%aOC(B 5
$B!!!!!!!!!!!!!!!!!!!!!!!!!!!!!!(B$B!J;05S$NF'$_9~$_!&8GDj!K(B


$B!!(BGPS$BB,NL$N>l9g!$4p=`E@$r@_CV$9$k>l9g$G%9%?%F%$%C%/B,NL$r9T$&>l9g!$(B1$B;~4VDxEYF10lE@$G$N4QB,$H$J$j$^$9!#4QB,3+;O8e!$4QB,o$,@8$8$J$$$+8+

$BDL>o$G$"$l$P2?$b5/$3$j$^$;$s!#$7$+$7!$(B5$BJ,!A(B10$BJ,DxEY$N4QB,$G$"$l$PLdBj$J$+$C$?;v$bD9;~4V$N4QB,$H$J$k$H;W$$$,$1$J$$;v$b5/$3$j$^$9!#(B


$B!!4QB,<+BN$b(BTS$B4QB,$G$"$l$P;05S$r?x$(IU$1!$4o3#$r@0=`$7$FD>@\4o3#$rA`:n$9$k$3$H$G!$$[$\F1;~$K4QB,$N7k2L$NNI$70-$7$rCN$k$3$H$,=PMh$^$9!#$=$N7k2L$K$h$C$F$O4QB,$N0-$+$C$?860x$K5$IU$-!$$=$N860x$rGS=|$9$k$3$H$b2DG=$H$J$j$^$9!#(B


$B!!(BGPS$BB,NL$N>l9g$O!$;05S$r?x$(IU$1$F4o3#$r@0=`$9$l$P!$;05S$N?x$(IU$1$d4o3#$N@0=`$KLdBj$,$"$C$?$H$7$F$b$h$[$I$N;v$J$$8B$j4QB,=*N;8e2r@O$r$7$?8e$G$J$1$l$PLdBj$,$"$C$?$+$5$(J,$+$j$^$;$s!#860x$r?dDj=PMh$F$b:F4QB,$OI,MW$K$J$j!$F10l%;%C%7%g%s$GF1;~$K4QB,$7$F$$$?J#?t$N4QB,E@$9$Y$F$G:F4QB,$,I,MW$K$J$j$+$M$^$;$s!#;05S$N?x$(IU$1!&4o3#$N@0=`$r3N

$B!!4p=`E@B,NL$G$O=iJb$N=iJb$H;W$o$l$kCm0U;v9`$J$N$G$9$,!$4p=`E@B,NL$NFbMF$,4JC1$K

$B@PFM$-$N2<$K$"$k$b$N(B

$B!!!J?^!](B1$B!K$N$h$&$K!$;05S$N@PFM$-(B

$B$r<+J,$NBN=E$r$+$1NI$/F'$_9~$s(B

$B$@$D$b$j$@$C$?$N$@$,!$CO2<$NLZ$N(B

$B:,$KEv$?$C$F$$$?0Y$K8e$+$i%8%s%o(B

$B%j$H;}$A$"$,$C$F$7$^$$!$7k2LE*$K(B

$B@0=`$,68$&!#(BTS$B4QB,$G$"$l$P4QB,(B

$B:9!&G\3Q:9$K1F6A$rM?$(!$@)8B$r30(B

$B$l$k860x$N0l$D$K$J$j$^$9$N$G4Q(B

$BB,A0$KNI$/Cm0U$r$7$F$$$k$N$G$9$,(B

$B!$(BGPS$BB,NL$G$O4QB,Cf$K$O1R@1$N(B

$Bu67Ey$N3NG'$OM-$j$^$9$,;0(B

$B5S$d4o3#$N?x$(IU$1!&@0=`>u67$K$D$$$F?M0YE*$J3NG'$,$"$j$^$;$s!#4QB,8e@0=`$r:FEY3NG'$7$?;~$K2r$k$3$H$K$J$j$^$9!#$=$N>l9g$OB(:B$KF10l%;%C%7%g%s$G:F4QB,$r9T$&I,MW$,@8$8$^$9$,!$1R@1$N>u67$K$h$k$3$H$K$J$j$^$9!#(B


$B4QB,8e@0=`$r3NG'$7$J$1$l$P2r@O$r9T$C$?7k2L$K:81&$5$l$^$9!#$3$NE@$,?7E@$G$"$j!$=EJ#4p@~$H$7$F:FEY;05S$r?x$(IU$1!&4o3#$r@0=`$9$k$3$H$,$J$1$l$PJP?4$7$?0LCV$G$N4QB,7k2L$,4QB,@.2L$H$J$j$^$9!#(B


$B8eF|$3$N?7E@$rM?E@$H$7$F;HMQ$7$?;~$K0[>o$,H=L@$9$k$3$H$K$J$j$^$9!#(B
$B5U$KCO2<$KIeMUEZ$,C_@Q$7$F$$$k>l=j$G$b!$BN=E$r$+$1F'$_9~$s$@$D$b$j$G$bK\Mh8GDj=PMh$k0LCV$K$^$GF'$_9~$a$F$$$J$$$N$G%8%o%j$HIb$->e$,$C$F$-$?$j!$D@$_9~$s$G$7$^$C$?$j$9$k>l9g$,$"$j$^$9!#4p=`E@B,NL$G

$B<+J,$NBN=E$,0z$CD%$k(B

$B!!!!!J?^!](B2$B!K$N$h$&$J>l=j$K$b5$$r(B

$B$D$1$kI,MW$,$"$j$^$9!#ET2q$NJ}(B

$B$K$O4X78$J$$$+$b$7$l$^$;$s$,!$(B

$BH*$NCf$G=|Ap:^$r;HMQ$;$:!$;(Ap(B

$B$r=|5n$9$k%S%K!<%k%7!<%H$rD%$C(B

$B$F$$$k>l9g$,$"$j$^$9!#Ap$`$7$j(B

$B$dAp4"$j$r$9$k?M
$BMxMQ$5$l$F$$$k$h$&$G$9!#(B

1$B!$(B2$B5i4p=`E@$G$"$l$P$3$N$h$&$J(B

$B>l=j$K4p=`E@$r@_CV$9$k;v$O$J$$(B

$B$N$G$9$,!$ED

$B$k0Y$K8=CO6aK5$K(B3$B5i4p=`E@$r@_CV$7$h$&$H$9$k$H>e6u$N>c32J*$OL5$/!$4p=`E@4V$N;kDL$NNI9%$G4QB,$K$O@d9%$N>l=j$G$9!#(B


1$BI.CO$N6aK5$G>r7o$NNI$$>l=j$,$"$j$^$7$?$N$G$*CG$j$r$7$F(B3$B5i4p=`E@$r@_CV$7$^$7$?!#%S%K!<%k%7!<%H$G=|Ap$r$7$F$$$k>l=j$O!$9L:nJ|4~CO$,B?$/!$;(Ap$,@8$($k$HNY6a=j$KLBOG$K$J$k$H$7$F=hM}$7$F$$$k>l9g$,B?$$$h$&$G$9!#;05S$r@_CV$9$kItJ,$N%S%K!<%k%7!<%H$KI,MW:GDc8B$N@Z$lL\$rF~$l!$NI$/F'$_$3$s$G;05S$r@_CV$7$^$7$?!#4o3#$N@0=`$r$7$F5a?4$r$7$F(B180$BEY2sE>$r$5$;$k$H!$5a?4$,68$C$F$$$^$9!#$b$&0lEY9g$o$;D>$7$F(B180$BEY2sE>$5$;$^$7$?!#$^$@5a?4$,68$C$F$$$^$9!#DL>o$G$"$l$P(B2$B2s$/$i$$2sE>$5$;5a?4$r$9$l$P$=$l0J>e9g$o$;D>$7$r$9$kI,MW$O$"$j$^$;$s!#@0=`Bf$N5a?4<+BN$,68$C$F$$$k>l9g$b$"$j$^$9$N$G!$:FEY5a?4$r$7$F99$K2sE>!$$d$C$H0lCW$7$F4QB,$r3+;O$7$^$7$?!#(B


$B!!;vL3=j$K5"$j7W;;$r$7$F$_$k$H4QB,7k2L$,$I$&$b$*$+$7$$$N$G$9!#MbF|!$8=>l$K9T$-$8$C$/$j$H4Q;!$9$k$H!$;05S$r@_CV$7$?7j$O$-$C$A$j$H;D$C$F$$$^$7$?!#7j$N3+$$$?%S%K!<%k%7!<%H$rNI$/$_$k$H(B2$B=E$K$b(B3$B=E$K$bI_$-5M$a$F$"$j$^$9!#@Z$jNv$$$?$N$O:G=i$N(B1$BKg$@$1$N$h$&$G!$(B2$B=E(B3$B=E$KI_$-5M$a$F$"$k%S%K!<%k%7!<%H$9$Y$F$r@Z$jNv$$$F$O$$$^$;$s!#@PIU$-$OCOLL$^$G$OE~C#$7$F$$$?$N$G$9$,%S%K!<%k%7!<%H$K;05S$,D>@\@\$9$kItJ,$,;D$C$F$*$j5a?4$r$9$kEY$K;d<+?H$NN)$A0LCV$,JQ$o$kETEY<+J,$NBN=E$G%S%K!<%k%7!<%H$r0z$CD%$j!$0z$CD%$i$l$?%S%K!<%k%7!<%H$,;05S$r0z$CD%$C$F$$$?$h$&$G$9!#(B


$B!!EZCO=jM-$G5a?4$O0lCW$7:F4QB,$N7k2L$ONI9%$G$7$?!#(B


$B%M%8$N$7$a$D$1(B


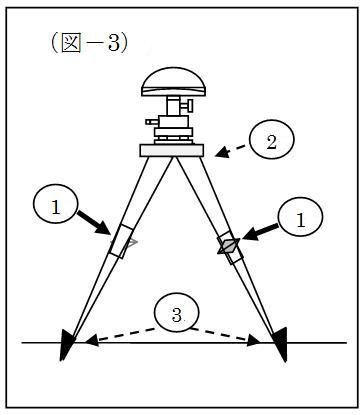
$B!!!J?^!]-#!K$N$h$&$K;05S$K$O-!$N8GDj$M$8$,(B

$B$"$j$^$9!#;05S$N$M$8$NDy$aIU$1$,
$B4E$$$H4QB,Cf$K0\F0$7$F$7$^$&$3$H$b$"$j$^$9!#(B

$B4QB,3+;O;~$H=*N;;~$G@0=`$N%:%l$,@8$8!$5a(B

$B?4$d5SF,$,$I$N;~4V$^$G?eJ?$G$"$C$?$N$+H=(B

$BCG$,Fq$7$/$J$j$^$9!#;05S$K>/$7NO$,2C$o$C$?(B

$B>l9g$d;05S$N=E$5$G8GDj$7$F$$$?0LCV$,JQ$o(B

$B$C$F$7$^$$$^$9!#6bB05S$G$bLZ5S$G$b5/$3$j$^(B

$B$9!#FC$KLZ5S$N>l9g$O6bB05S$h$j$b0BDj46$,(B

$B0c$&$H0B?4$7$F$$$k:"$K6bB0$N%M%8$HLZ5S$N@\(B

$B?(LL$,K`LW$7$F$7$^$$%M%8$,$h$/Dy$^$i$J$/$J(B

$B$C$F$$$k;v$,$"$j$^$9!#(B
$B!!-!$N>l9g$O5$$r$D$1$F$$$l$PJ,$k$3$H$J$N$G$9$,!$-"(B

$B-#$K$D$$$F$O;05S$r$R$C$/$jJV$7ImB0$NO;3Q%l%s%AEy(B

$B$G3NG'$9$kI,MW$,$"$j$^$9!#3NG'$7$F$_$k$H$0$i$0$i$G$"(B

$B$k;v$,B?$/>G$k$3$H$K$J$j$^$9!#(B
$B!J?^!](B5$B!K$O-#$N@PFM$-$N6b6q$H;05S$r30$7$?>uBV$G$9!#(B

$B-#$ODL>o$G$"$l$P6b6q$rDy$aIU$1%M%8$,$7$^$C$F$$$k(B

$B$+$I$&$+$N3NG'$r$9$l$PNI$$>l=j$G$9!#6b6q$r30$7$F3N(B

$BG'$9$k;v$O$"$j$($J$$>l=j$G$9!#(B

$B!!DL>o$N(BTS$B4QB,$rB3$1$F$$$l$PLdBj$J$$$N$G$9$,!$(BGPS$BB,NL$N>l9g$K$O(BTS$BB,NL$G$O4QB,$r9T$o$J$$$h$&$J1+E7!&??2F$G$bD9;~4V$N4QB,$r9T$$$^$9!#K=Iw1+$N>l9g$OJL$G$9$,!$1+E7$N>l9g$N4QB,$O

$B!!4QB,=*N;8e!$@0=`Bf$O?e$r?!$-l=j$G4%Ag$5$;$FFbIt$N<>5$$r$H$jF^$i$J$$$h$&$K5$$rIU$1$^$9!#;05S$K$D$$$F$O4QB,8e5U$5$K$9$k$H%6!<%C$H?e$,N.$l=P$k$h$&$J>l9g$G$b!$?e$r?!$-5$$K$h$jIe?)$7$F$7$^$$$^$9!#$3$N;05S$r;HMQ$9$k$H@0=`$N:]$K860xITL@$NIT5,B'$JF0$-$r$9$k$3$H$K$J$j$^$9!#DL>o-#$N>l=j$NCf?H$r3NG'$9$k;v$b$J$/!$$3$N$h$&$J860x$OLGB?$KAx6x$7$^$;$s$N$G860x$,H=L@$9$k$^$G$K;~4V$,$+$+$C$F$7$^$$$^$9!#(B


$B;05S$,E]$l$k(B

$B!!Iw$K$h$kE>E]!&0\F0$r$$$+$KKI$0$+!$(B

GPS$BB,NL$G$O(BTS$B;HMQ$N4p=`E@B,NL$G$O7h$7(B

$B$F9T$o$J$$$h$&$JE78u$Gl9g$,$"$j$^(B

$B$9!#(BTS$B4QB,$G$O(B1$B4QB,E@$G$N4QB,$,(B10$BJ,DxEY(B

$B$G$"$k$N$KBP$7!$(BGPS$BB,NL$G$O(B1$B;~4V0J>eF1(B

$B0lE@$G4QB,$7$J$1$l$P$J$i$:!$8=:_L5Iw$G$"(B

$B$C$F$bFMIw$,?a$/$+$b$7$l$:!$2#$K%H%i%C%/$,(B

$BDd;_$7$FGS5$%,%9$r0l5$$KEG$-=P$9$+$b$7$l(B

$B$^$;$s!#(B

$B!!K=Iw1+$G$"$l$PJL$G$9$,!$>/$7$NIw$,?a$$(B

$B$F$bE>E]$d0\F0$9$k$3$H$,$J$$$h$&$K9)IW$9$k(B

$B$3$H$OBg@Z$K$J$j$^$9!#FMIw!&?a$->e$2$NIw$K(B

$B$OFC$KCm0U$,I,MW$G$9!#$$$H$b4JC1$K;05S$O(B

$BE>E]$7$F$7$^$$$^$9!#(B

$B!!;05S$r?x$(IU$1$?>l=j(B

$B$,EZ$N>l=j$G$"$l$P!$NI(B

$B$/F'$_9~$s$G0\F0$N$J$$(B

$B$h$&$K8GDj$9$k$3$H$,=PMh(B

$B$l$P$=$s$J$K?4G[$O$"$j(B

$B$^$;$s!#B->l$NNI$$%3%s%/(B

$B%j!<%HMJJI$N>e$d%"%9%U%!(B

$B%k%HJ^Au$G$O!$NI$/F'$_9~(B
$B$s$@$H$7$F$b8GDj$9$k$H$$$&0UL#$G$O

$B!!4o3#$r@_CV$7$?>l=j$,2O@n8n4_$N%3%s%/%j!<%HMJJI$G$"$l$P!$2O@nJ}8~$+$i$N2<$+$i?a$->e$2$NIw$,$"$j$^$9!#2<$+$i$N?a$->e$2$NIw$K;05S$O4JC1$K;}$A>e$2$i$lE>E]$7$F$7$^$$$^$9!#(B


$B!!Cf$K$OMn8l$N$h$&$Je$2$i$l!$?7J9;f$O;05S$KD%$jIU$-$^$9!#D%$jIU$$$??7J9;f$,IwP$$OC$N$h$&$G$9$,

$B;05S$N8GDjJ}K!(B


$B!!$=$3$G!$$I$N$h$&$K;05S$r8GDj$9$l$PNI$$$N$G$7$g$&$+!#%"%9%U%!%k%HJ^Au!&%3%s%/%j!<%HMJJI$G$"$l$P!$IFEy$G;05S$N@PFM$-$N0LCV$K>.$5$J7j$r6u$1$F0\F0$7$J$$$h$&8GDj$9$k$3$H$b$A$g$C$H$7$?9)IW$N0l$D$G$7$g$&!#99$K6/$$8GDjJ}K!$H$7$F!$4p=`E@$r%,!<%I%l!<%k$N2<$K@_CV$9$k;v$,B?$$$N$G!$%,!<%I%l!<%k$H%[!<%`%;%s%?!<$GHNGd$7$F$$$k6b6q$rMxMQ$7$F8GDj$7$F$$$^$9!#%,!<%I%l!<%k$,L5$1$l$P%3%s%/%j!<%H9:$r$*$b$j$K$7$F8GDj$7$F$$$^$9!#8=CO$GBP1~=PMh$l$P%3%s%/%j!<%H9:$NBe$o$j$K8=CO$K$"$kBg$-$a$N@P$d%V%m%C%/$G$bNI$$$G$7$g$&!#(B

$B;05S$N@PFM$-$N$=$l(B

$B$>$l2#$K6bB0IF$rBG(B

$B$A9~$_!$6bB0IF$H@P(B

$BFM$-$r$R$b$G7k$S8G(B

$BDj$7$F$7$^$&J}K!$d!$(B

$BLZ9:$rBG$A9~$_!$$=(B

$B$NLZ9:$H;05S$r$R$b(B

$B$G7k$s$G8GDj$5$;$k!#(B

$B@PFM$-$K:=$rF~$l$?(B

$BEZG9$rCV$-8GDj$5$;(B

$B$kEy$$$m$$$m$JJ}K!(B

$B$r9)IW$9$k$3$H$,=P(B

$BMh$^$9!#(B1$B;~4V0J>e$N(B

$B4QB,$r9T$&$?$a$K3F(B

$B?M9)IW$r$9$kI,MW$,(B

$B$"$k$G$7$g$&!#(B

$B!!$?$@$7!$MxMQ$7$?8e$N9:!&@P!&IF$K$D$$$F$O86>u$r2sI|$7$F$*$+$J$$$H!$O7?M$d;R6!$,$1$D$^$:$$$F2x2f$r$9$k;v$b$"$j8eF|$I$N$h$&$J;v7o$,5/$3$k$+$o$+$j$^$;$s!#(B


$BLa$k(B
$BLa$k(B